名流 CH100 的三擋自動變速機構既不同于皮帶自動變速機構,也不同于如玉河 YH50-2 型摩托車的變速機構。其結構極為復雜,如圖 1 所示。雖然說明其工作原理頗為繁瑣,但只要搞清了行星齒輪減速的道理,就會對其低速時為什么能減速及至中、高速時的工作情況有較好的了解。

一、行星齒輪機構裝在曲軸左端的行星齒輪機構是名流 CH100 踏板車三擋自動變速器中低速時減速傳動的決定性機件。當發動機轉速超過 3000r/min 時,自動離心式 1 擋離心塊在離心力作用下向外甩開,與離合器外盤的內表面緊密接觸,使離合器處于接合狀態。這樣一來,固定在外盤上的環形內嚙合齒輪開始旋轉,與內嚙合齒輪相嚙合的行星齒輪也隨著旋轉,位于中心的恒星齒輪(太陽輪)與行星齒輪也相嚙合,但在棘爪式單向旋轉離合器作用下,行星齒輪只能在恒星齒輪上面一面滾動,一面作行星環繞太陽式的公轉,然后將這個公轉運動的旋轉力傳給鏈輪。令人驚奇的是,行星齒輪的轉速慢于環形內嚙合齒輪(齒圈)的轉速,即獲得了減速。見圖 2 。

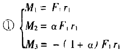
那么,行星齒輪傳動為什么會獲得減速呢?這還得從行星齒輪變速的工作原理談起。如圖 3 所示,作用于太陽輪、齒圈、行星架上的力矩 M 1 , M 2 , M 3 分別為:
M 1 = F 1 r 1
M 2 = F 2 r 2
M 3 = F 3 r 3 ( r 1 r 2 分別為太陽輪和齒圈節圓上的半徑)
設齒圈齒數與太陽輪的齒數比為 α ,則 α=Z 2 /Z 1 =r 2 /r 1 所以, r 2 =αr 1

設行星輪半徑為 R ,由圖 3可知

( r 3 為行星輪與太陽輪的中心距)
由行星輪水平方向力平衡條件可知, F 1 =F 2 和 F 3 =-2F 1 。
因此太陽輪、齒圈和行星架上的力矩分別為,

根據能量守恒定律,三個元件上輸入和輸出功率的代數和應等于零。即 M 1 W 1 +M 2 W 2 +M 3 W 3 =0
② W 1 , W 2 , W 3 分別為太陽輪、齒圈、行星架的角速度。
將 ① 代入 ② 得 W 1 +αW 2 - ( 1+α ) W 3 =0
若以轉速 n 代替角速度 W ,則上式寫成 n 1 +αn 2 =- ( 1 + α ) n 3 =0
③ ③ 為單排行星齒輪一般運動規律特性方程。若齒圈為主動件,行星架為從動件,太陽輪固定。即 n 1 =0 故傳動比 =n 2 /n 3 = ( 1+α ) /α=1+Z 1 /Z 2
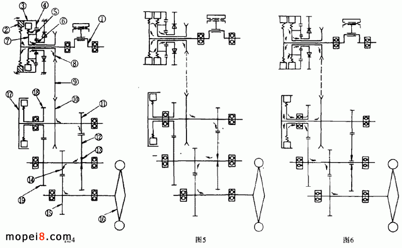
④ 傳動比大于 1 ,故為減速傳動。根據 ④ 式可知,當發動機轉速大于 3000r/min 時,由于棘爪式單向旋轉離合器的作用,使太陽輪無法轉動,即 n 1 =0 ,齒圈與行星架的轉速比即傳動比大于 1 。也就是說,齒圈的轉速大于行星架的轉速。行星齒輪架上的旋轉運動力由驅動齒輪和驅動鏈條傳遞給主軸被動齒輪。其動力傳遞如圖4 所示。

① 曲軸 →②I 速離合器(約 3000r/min 時離合器結合) →③I 、 Ⅱ 速離合器盤 →④ 內齒輪 →⑤ 行星齒輪 →⑥ 太陽輪(由制止爪單向離合器固定) →⑦ 離合器驅動板(行星架) →⑧ 驅動齒輪 →⑨ 驅動鍵條 →⑩ 從動齒輪 → ⑾主軸齒輪 → ⑿副軸低速齒輪 → ⒀副軸單向離合器(固定狀態) →⒁ 副軸齒輪 → ⒂末級齒輪 → ⒃后輪。
低速擋用于起步或爬坡,速度約在 15km/h 以下。
二、二擋與三擋變速機構。
在低速狀態下要提高速度時,裝在行星齒輪架上的離心式中速離合器接合,此時棘爪式單向離合器被解除,在不減速的情況下曲軸與行星齒輪開始做同一旋轉運動。中速時( 15 ~ 27km/h )的動力傳遞見圖 5 。
① 曲軸 →②Ⅰ 速離合器 →③Ⅱ 速離合器(約在 15km/h 結合 →⑧ 驅動齒輪 →⑨ 驅動鏈條 →⑩ 從動齒輪 → ⑾主動齒輪 → ⑿副軸低速齒輪 → ⒀副軸單向離合器(固定狀態) → ⒁ 副軸齒輪 → ⒂末級齒輪 → ⒃后輪。
在中速狀態下,要升到 27km/h 以上的變速時,需以副軸作中介,使主軸高速齒輪旋轉,并與離心式高速離合器接合,副軸單向離合器被解除(因為軸的轉速加快),主軸的動力通過高速齒輪 → 副軸齒輪 → 末級齒輪傳遞給后輪。其動力傳遞如圖 6 所示。
① 曲軸 →②I 速離合器 →③Ⅱ 速離合器 →⑧ 驅動齒輪 →⑨ 驅動鏈條 →⑩ 從動齒輪 → ⒄Ⅲ 速離合器 → ⒅主軸高速齒輪 → ⒆副軸高速齒輪 → ⒁ 副軸齒輪 → ⒂末級齒輪 → ⒃后輪。





