|
關注及時獲取摩配廠家資料
慈溪市奔利軸承有限公司供應奔利軸承、摩托車軸承系列、深溝球軸承、方向軸承、滾針軸承及非標軸承,更多摩托車軸承等相關產品,歡迎聯系。
|
||||||||||||||||||||||||

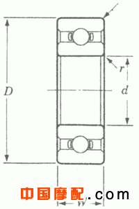
| 基本軸承型號 | 鉆孔 d mm inch | 外部直徑 D mm inch | 寬度 W mm inch | 半徑 ( r ) min mm inch | 球余角 | 最大溢流速度 | 重量 kg | ||
| No. | 尺寸(mm) | 脂 (r/min) | 油 (r/min) | ||||||
| 6000 | 10 0.3937 | 26 1.0236 | 8 0.3150 | 0.3 0.012 | 7 | 4.736 | 20000 | 28000 | 0.019 |