|
關注及時獲取摩配廠家資料
慈溪市奔利軸承有限公司供應奔利軸承、摩托車軸承系列、深溝球軸承、方向軸承、滾針軸承及非標軸承,更多摩托車軸承等相關產品,歡迎聯系。
|
||||||||||||||||||||||||||

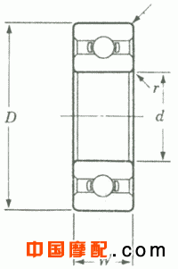
| 基本軸承型號 | 鉆孔 d mm inch | 外部直徑 D mm inch | 寬度 W mm inch | 半徑 ( r ) min mm inch | 球余角 | 最大溢流速度 | 重量 kg | ||
| No. | 尺寸(mm) | 脂 (r/min) | 油 (r/min) | ||||||
| 6004 | 20 0.7874 | 42 1.6535 | 12 0.4724 | 0.6 0.024 | 9 | 6.35 | 15000 | 19000 | 0.068 |